Установка подвесного унитаза: разбираем нюансы монтажной технологии

Напольные унитазы долгое время были вне конкуренции, но всё меняется. Владельцы современных квартир всё чаще делают выбор в пользу подвесных моделей. Удовольствие это не из дешевых, но это практически единственный недостаток такого решения. Зато в числе преимуществ конструкции её великолепный дизайн и удобство обслуживания.
Важно, чтобы установка подвесного унитаза была выполнена по всем правилам. Мы расскажем, как и в какой последовательности производятся работы, какие приспособления потребуются для крепления чаши. С учетом наших рекомендаций вы сможете все сделать самостоятельно или проконтролировать действия сантехников.
Как устроена подвесная конструкция?
Домашний мастер с легкостью справится с монтажом настенной модели, если разберётся в отличительных особенностях её конструкции.
Видимым элементом такого сантехприбора является сама чаша унитаза. Её монтаж на стену осуществляется двумя способами: с применением инсталляции и на бетонное основание. В нашей статье мы рассмотрим оба варианта.

Сильные и слабые стороны подвесного вида сантехники перечислены в статье, в которой детально описаны разновидности и конструктивная специфика, приведены ориентиры выбора оптимальной лично для вас модели.
Конструкцию настенного сантехнического устройства условно можно разделить на три основных элемента, о которых дальше пойдет речь.
Надежная стальная рама (модуль)
Рама – основной элемент всей конструкции, который прикрепляется к полу и к стене санузла. Именно рама является опорой для сливного бачка и чаши. От её надежности зависит качество последующей эксплуатации изделия. После ввода унитаза в эксплуатацию, конструкция должна будет обладать достаточным запасом прочности, чтобы выдержать вес взрослого человека.
Для закрепления рамы необходимо иметь прочную основу. Гипсокартонные стены в этом качестве рассматриваться не могут. Рама снабжена механизмом, позволяющим варьировать высоту установки унитазной чаши в диапазоне 40-43 см. Для надежного закрепления чаши производители рекомендуют использовать крепкие штыри, изготовленные из стали.

Лучшие модели опорных рам для подвесной сантехники перечислены в статье, с которой мы рекомендуем ознакомиться.
Скрытый сливной бачок
Скрытое крепление этого элемента, по мнению приверженцев настенной модели, считается одним из преимуществ конструкции. Материалом для его изготовления является очень прочный пластик. Чтобы на поверхности не скапливался конденсат, пластик обрабатывается стиролом.
Бачок имеет плоскую форму, отличающуюся технологическим вырезом с одной из сторон. Этот вырез необходим для устройства сливной клавиши. У этого отверстия есть и ещё одно предназначение: оно позволяет извлекать арматуру сливного бачка при выполнении ремонтных работ.
Ещё одной особенностью сливных бачков подвесной конструкции является экономичная система слива, которой может быть оборудована такая модель. В зависимости от потребности, доза слива может составлять 3 или 6 литров.
Чаша – видимый элемент конструкции
Чашу выбирают, как правило, исходя из личных предпочтений пользователей. Она находится на виду и должна соответствовать общему интерьеру помещения. Кроме того, выбранный подвесной унитаз должен быть удобен в эксплуатации.

Большинство покупателей отдают предпочтение изделию овальной формы. Хотя в продаже встречаются круглые, прямоугольные и даже квадратные модели.
Крепежные элементы являются частью выбранной модели и входят в состав её комплектации. Дополнительно приобретать крепеж для подвесного унитаза покупать не нужно. Кроме того среди навесных моделей есть умные сантехнические устройства с электронным управлением и многочисленными гигиеническими функциями.
Интеллектуальные типы сантехники с выдвижными форсунками для выполнения обмыва и осушения, дезодорации и прочих действий нуждаются в подключении к электропитанию. Их установка усложнена подводкой силовой линии и настройкой работы системы:
Тщательная оценка «за» и «против»
Делая выбор в пользу более современной модели, необходимо хорошо подумать, имеет ли смысл безоговорочно отдавать предпочтения такому решению или всё же стоит предпочесть традиционный вариант.
Чем привлекает пользователей подвесная модель и что заставляет засомневаться?
- Дизайн. Лаконичный вид изделия – это несомненный плюс. Изящная чаша, не касающаяся пола, выглядит эстетичнее той, которая в него вмонтирована. Панель, закрывающая место монтажа, смотрится привлекательно. Подходящий вариант клавиши смыва тоже можно подобрать.
- Компактное размещение. Это утверждение, кстати, вызывает споры специалистов. Если говорить о реальном, а не о визуальном эффекте, то он невелик. Для установки инсталляции не в нишу нужно примерно 15 см. Прибавим к этому значению толщину фальш-стены и убедимся, что выигрыш не столь велик, как хотелось бы.
- Простота обслуживания. Отсутствие ножки позволяет легко вымыть пространство под унитазом. Нет отверстия в полу, которое вызывает проблемы с уборкой и могло бы нарушить общий рисунок напольного покрытия.
- Ремонтные работы. Закрытые коммуникации – это хорошо только при их исправной работе. В случае поломки доступ к ним может оказаться весьма затруднительным, а восстановление интерьера – дорогостоящим. Трудности могут возникать и с ремонтом бачка, если он все-таки понадобится.
- Психологический аспект эксплуатации. Рама устройства достаточно надежна, чтобы выдерживать нагрузки до 400 кг. Но у людей с лишним весом могут возникать психологические трудности в процессе эксплуатации этого сантехнического прибора: боязнь, что чаша может оторваться и разбиться. Расслабиться в такой ситуации очень непросто.
- Особенности монтажа подвесного унитаза. Конечно, установить настенную модель сложнее, чем напольную. Для успешного завершения задуманного необходимо либо потратить дополнительные средства, пригласив специалистов, либо силы и время, если вы решите сделать работу своими руками.
- Цена. Настенная модель обойдется вам дороже напольной. Такую разницу в цене можно отнести за счет стоимости стальной инсталляции, поэтому наиболее бюджетным можно считать вариант монтажа на бетонную основу.
По сути, кроме симпатичного внешнего вида, особыми преимуществами популярная и модная модель не обладает. Это, скорее, вопрос вкуса владельцев. Поэтому, если вы ограничены в средствах, подумайте ещё раз: стоит ли результат предполагаемых затрат.

Подготовка к выполнению монтажных работ
Как всегда, мы советуем вам всё, что необходимо для выполнения работ, приобрести заранее и иметь под руками.
Итак, чтобы установить унитаз подвесного типа с инсталляцией, вам необходимо иметь:
- стальную раму-модуль в комплекте с пластиковым бачком (ёмкостью);
- унитазную чашу;
- клавишу смыва;
- стальные шпильки для выполнения крепежных работ;
- набор соединительных патрубков.
Обычно в комплекте с инсталляцией продаётся не только пластиковая ёмкость, но и клавиша для смыва, патрубки, переходники и крепежные элементы. Как правило, в набор входит и специальный материал для защиты от конденсата всей конструкции, которая будет расположена в стене санузла. Этот же материал понижает уровень шума в период слива и наполнения ёмкости водой.
Когда вы покупаете сантехнику в магазине, обязательно сверьте комплектацию и докупите те элементы, которые вам понадобятся, но в базовый набор не вошли. Заметьте, что чашу обычно приобретают отдельно. Сама рама и все монтажные элементы стандартизированы, поэтому подберите тот вариант, который вам нравится.

Большинство покупателей отдают предпочтение двойной клавише для смыва: она позволяет дозировать расход воды. Для выполнения монтажа и отделки будет нужен влагостойкий гипсокартон.
Не забывайте и про инструменты. Вам понадобятся:
- перфоратор;
- сверла по бетону;
- рулетка;
- карандаш для нанесения разметки;
- накидные рожковые ключи;
- строительный уровень;
- нож для работы с гипсокартоном.
Подготовьте место для выполнения работ: уберите всё лишнее. Можно приступать.
Монтажные работы с инсталляцией
Чтобы вы могли представить себе, как будете устанавливать подвесной унитаз, перечислим основные этапы работы.
Установка подвесного унитаза с инсталляцией: тонкости монтажа
Унитазы с инсталляцией – настоящие аристократы в мире сантехники. Это удобные и компактные устройства, обычно отличающиеся великолепным дизайном и совсем не щадящей своего владельца ценой. Кроме того, установка подвесного унитаза – задача достаточно сложная, она требует очень внимательного выполнения.
И все же ряды приверженцев унитазов с инсталляцией стабильно растут. Немало домашних умельцев после изучения рекомендаций и инструкций успешно справляются с установкой этой непростой конструкции самостоятельно.
Важно лишь правильно выполнить каждый этап монтажных работ.
Как устроен подвесной унитаз?
Подвесной унитаз устроен значительно сложнее, чем обычный компакт или монолит. Инсталляцией называют прочную металлическую раму. Это раму устанавливают внутри стенной ниши и надежно фиксируют к стене и к полу.

Плоский пластиковый бачок уже закреплен на раме. Затем к нише подводят необходимые коммуникации, выполняют отделку и навешивают сам унитаз.
Унитаз остается снаружи, а вся остальная начинка остается скрытой в стене. На стену выводят также кнопку смыва, которая обычно располагается на стене над чашей. Даже из этого сжатого описания можно понять, что установка такого устройства – процесс трудоемкий.
Но все же у модели с инсталляцией множество преимуществ:
- эстетичный вид и привлекательный дизайн – чаша как будто парит над полом;
- компактные размеры, оставляющие широкий простор для размещения унитаза как в маленьком, так и в большом санузле;
- отсутствие ножки существенно облегчает уборку помещения;
- конструкция инсталляции универсальна, есть возможность выбрать некоторые элементы на свой вкус и кошелек;
- поломки рамы и бачка крайне редки, а отремонтировать или заменить кнопку слива обычно не сложно.

Среди недостатков следует отметить высокую цену. С учетом расходов на установку стоимость такого унитаза может в два раза превысить стоимость стандартной напольной модели.
Однако производители учитывают растущую популярность подвесной сантехники, поэтому в продаже появились относительно недорогие модели. Еще один недостаток – бачок и рама, спрятанные в стене, не слишком доступны для ремонта.
В случае серьезной поломки, возможно, придется разворотить всю стену и повторно выполнить отделочные работы на этом участке.
Материалы и инструменты
Для установки унитаза с инсталляцией установки встроенного унитаза необходимо приобрести следующие элементы:
- раму-инсталляцию с пластиковым бачком;
- чашу навесного унитаза;
- кнопку смыва;
- шпильки для крепления унитаза;
- набор патрубков для соединения чаши с бачком и т.п.
Инсталляция обычно поставляется в комплекте с плоским пластиковым бачком, а также переходниками, патрубками, крепежом и кнопкой смыва. В комплект обычно входит специальный материал, который защищает конструкцию внутри стены от воздействия конденсата, а также снижает уровень шума от работающего бачка.
При покупке следует внимательно проверить комплект, чтобы сразу же приобрести недостающие элементы. Чашу унитаза также приобретают отдельно. Размеры и конфигурация инсталляции, как и прочих деталей, стандартизованы, поэтому их можно при желании изменять.
Например, можно выбрать новую двойную кнопку смыва, которая позволяет экономить воду.

Чтобы выполнить установку понадобится также ряд инструментов, прежде всего, перфоратор и сверла по бетону, соответствующие крепежу. Нужен также строительный уровень, рожковые накидные ключи, рулетка, карандаш для выполнения разметки, нож для подрезки гипсокартона и т.п.
Порядок монтажа подвесного унитаза
Схематически порядок работ при монтаже унитаза с инсталляцией можно представить в виде ряда основных шагов:
- Сделать в стене нишу подходящего размера.
- Подвести к нише канализацию.
- Выполнить монтаж рамы-инсталляции.
- Подвести к месту монтажа трубы холодного водоснабжения.
- Подключить бачок унитаза.
- Закрыть нишу, установить кнопку смыва и выполнить отделку.
- Навесить унитаз, подключив к бачку, а также к канализации.
Понадобится также некоторое количество гипсокартона, как для монтажных, так и для отделочных работ.
Каждый этап работ по монтажу навесного унитаза требует пристального внимания. Срок эксплуатации устройства, количество и характер поломок во многом зависят от качества выполнения монтажных работ.
Результаты даже незначительных погрешностей, допущенных в процессе установки, могут стать очевидными не сразу, а только в процессе эксплуатации. Ремонт может оказаться очень затратным и трудоемким, поэтому лучше сразу правильно установить все элементы этого устройства, чем потом переделывать.
Подробно порядок установки навесного унитаза представлен в следующем видеоматериале:
Ниша для инсталляции
Для создания ниши и установки инсталляции подходят только стены с соответствующей несущей способностью. Инсталляция способна выдерживать вес около 400 кг, и часть этой нагрузки приходится на стену. Поэтому ставить навесной унитаз на стене из гипсокартона было бы неразумно, она может просто рухнуть.
Итак, для установки инсталляции необходимо выдолбить в стене нишу со следующими параметрами:
- высота – 1000 мм;
- ширина – 600 мм;
- глубина – 150-200 мм.
Иногда требования по глубине выполнить не просто. В этом случае нишу делают на возможную глубину, а ее недостаток скрывают с помощью гипсокартона и отделки.
Таким образом, появляется пространство для экспериментов в области дизайна интерьера. Например, можно сделать встроенный шкаф в пространстве между появившимся выступом и стеной или повесить там открытые полки.
А вот идея просто поставить раму вдоль стены, а затем полностью обшить ее гипсокартоном большого смысла не имеет. В этом случае проще и дешевле поставить в этом же место обычный компакт, который займет столько же пространства или даже меньше.

Жильцы верхних этажей многоквартирных домов иногда устанавливают в нишу фанового стояка. При этом часть фанового стояка обрезают и устанавливают воздушный клапан там, где находится выпуск на чердак.
В некоторых санузлах ниша для коммуникаций предусмотрена проектом. Ее также можно использовать для монтажа инсталляции, но могут понадобиться некоторые переделки, например, изменение положения водопроводных труб и сместить стояк канализации.
Если опыта в выполнении подобных операций у домашнего умельца нет, лучше проконсультироваться со специалистом или даже поручить ему выполнение этой части монтажных работ.
Подвод канализации
Перед установкой рамы необходимо позаботиться о правильном подводе канализационной трубы к месту монтажа. Понадобится труба с диаметром 100 мм. Ее следует проложить максимально близко к полу, при этом необходимо обязательно выдержать правильный уклон.
Место подключения должно оказаться в 250 мм от центра стенной ниши. На горизонтальную часть трубы надевают косой отвод с углом 45 градусов. После выполнения этих операций можно приступать к монтажу инсталляции.
Монтаж рамы с бачком
Для монтажа инсталляции унитаза предусмотрены четыре точки. В двух местах ножки рамы крепятся к полу, и еще в двух местах раму закрепляют на стене с помощью кронштейнов. При этом обязательно следует использовать строительный уровень, чтобы конструкция стояла идеально ровно и по вертикали, и по горизонтали.
Для этого рекомендуется проверить положение рамы с разных сторон.
Если инсталляция будет установлена даже с небольшим перекосом, в работе внутреннего механизма могут возникнуть перебои, что приведет к скорой поломке конструкции. Чтобы выровнять положение рамы по вертикали, используют регулируемые ножки.
Горизонтальное положение выставляют с помощью стеновых креплений, положение которых также можно изменить нужным образом. После того, как положение инсталляции точно выставлено и зафиксировано, можно привинтить ее к стене. Для придания раме большей устойчивости ножки можно дополнительно зацементировать.
Слоя стяжки в 20 см высотой будет достаточно, но эта мера обязательной не является.

В нижней части инсталляции есть несколько отверстий, предназначенных для дальнейшего монтажа навесной чаши. Расстояние между полом и этими отверстиями должно составлять примерно 300-400 мм, чтобы можно было чашу унитаза повесить достаточно высоко от пола. В эти отверстия следует установить специальные шпильки.
Их вставляют до упора в стену и закрепляют специальными гайками. Шпильки предназначены для последующего навешивания унитаза.

Подключение коммуникаций
Начать следует с подключения канализации. Обычно инсталляция комплектуется специальным черным отводом, предназначенным для этого соединения. Его следует подогнать к канализационной трубе. Вторую сторону отвода крепят на инсталляции специальными клипсами.
Подключение к водопроводу производят с правой или с левой стороны от инсталляции. Водопроводную трубу соединяют с помощью уже установленного в конструкции резьбового соединения.
Специалисты рекомендуют использовать современные трубы из полипропилена или меди как самый долговечный и надежный вариант, а также установить удобное разъемное соединение.
Для подведения воды к бачку можно использовать и обычные гибкие шланги. Это простой в монтаже и недорогой вариант, но срок службы шлангов меньше, чем у труб, поэтому следует считаться с необходимостью сложного ремонта для их замены.
На этом этапе необходимо выполнить проверку надежности соединения бачка с водопроводной системой. Для этого нужно открыть кран подачи воды, который находится внутри бачка, и наполнить емкость. Затем все соединения проверяют на наличие протечек и устраняют неисправности, если это необходимо. Сливать воду при этом не обязательно.
Проверку канализационного соединения можно выполнить следующим образом: надеть на шпильки чашу и выполнить пробный смыв, не закрепляя конструкцию.
После этого чашу следует снять с крепления, проверить наличие или отсутствие протечек, а затем продолжить монтаж.
Отделочные работы
Если инсталляция установлена правильно, а бачок не протекает, нужно зашить нишу листом гипсокартона и выполнить отделочные работы. Рекомендуется взять двойной лист специального влагостойкого гипсокартона. Обычный гипсокартон будет вскоре поврежден из-за контакта с конденсатом.
Чтобы правильно вырезать все монтажные отверстия в листе и не испортить материал, используют шаблон для раскройки. Обычно такой шаблон поставляется в комплекте с инсталляцией.

В ванной комнате стены чаще всего облицовывают керамической плиткой. К дальнейшим работам по установке подвесного унитаза можно приступать только по окончании этого этапа.
Не будет ошибкой даже полностью завершить ремонт санузла, и лишь затем продолжить установку подвесного унитаза с инсталляцией.
Установка навесного унитаза
Этот этап можно назвать самым простым, поскольку основной объем работ уже выполнен. Но сначала рекомендуется подождать до полного высыхания слоя плиточного клея. Выполняют монтаж чаши унитаза следующим образом:
- Подгоняют размеры патрубка сливного бачка, который должен на 50 мм выступать за стену.
- Таким же образом подрезают патрубок, предназначенный для канализационного слива.
- Устанавливают патрубки на предназначенные для них места.
- Надевают на установленные ранее шпильки и патрубки специальную прокладку большого размера, по конфигурации она похожа на усеченную пирамиду.
- Надевают чашу унитаза на шпильки, надежно соединив ее с патрубками.
- Устанавливают пластиковые вставки и резиновые прокладки.
- Надевают и затягивают крепежные гайки.
- Обрезают выступающую часть резиновой прокладки.

После этого можно проверить работу канализации, спустив в чашу унитаза воду из бачка. Чтобы отрегулировать высоту чаши унитаза над полом, можно изменять положение выдвижных штифтов и шпилек, предназначенных для навешивания чаши. При этом обычно ориентируются на рост посетителя.
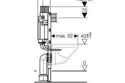
Универсальной высотой считается расстояние в 40 см от края чаши до уровня пола.
Монтаж кнопки смыва
Осталось установить кнопку смыва. Она может быть пневматической или механической. Это не сложная операция, поскольку все соединения уже предусмотрены на инсталляции и должны быть уже подведены к соответствующему отверстию на стене.
Для установки механической кнопки понадобится установить специальные штифты и затем отрегулировать их положение. Пневматическую модель нужно лишь присоединить нудным трубочкам на инсталляции, и она будет готова к работе.
Как установить подвесной унитаз (инсталляцию) самому . Инструкция пошаговая с фото .
Здравствуйте, уважаемые домашние мастера. Сегодня в этой статье я хотел бы рассказать вам о самостоятельной установке зарубежного чуда – инсталлированого бачка и подвесного унитаза.
Выбор инсталляции.
Про выбор и покупку я ничего не буду повествовать, только скажу одно – у меня не малый опыт по ремонту инсталляций, Gerebir на высоте. Все сделано на высоте и без вые. нов -просто. Если сказать честно, то ломатся нечему, единственная проблема в загрязнении наливного клапана грязью из нашего российского водопровода. Бороться с этим явлением довольно легко – необходимо устанавливать фильтр тонкой очистки и все будет в шоколаде. Grohe – наоборот, все усложняют и придумывают инновации, толку только мало – со временем начинает заклинивать и не подавать признаки к жизни.

Необходимый инструмент для установки инсталлированного бачка:
- Это конечно же перфоратор с буром диаметром 10 .
- Болгарка – по фиг какая ( большая или маленькая).
- Гаечный ключ на 13 или намного лучше когда у вас имеется трещотка с головкой 13.
- Молоток.
- Крестовая отвертка.
- Нож – подойдет любой.
- Рулетка.
- Маркер или карандаш.
- Уровень – желательно с магнитами.
- И самое главное это – Аккуратность и Внимательность.
- Пресс-клещи для металлопластика или паяльник для полипропилена .
- Газовый и разводной ключ и лен.
- Баллон хорошего силикона и пистолет, чтобы его выдавить.
Итак, поехали.
Начальные мероприятия по установке подвесного унитаза.

- Необходимо перекрыть подачу холодной воды , чтобы осуществить все необходимые мероприятия по подключению инсталяции.

- Распаковываем коробку и достаем все.

- На фото видно раструб и коробочку, в которой упакована кнопка и все штуки, которые понадобятся при завершении всех отделочных работ – их откладываем в сторону .

- Этот черный кронштейн для крепления на раме раструба устанавливаем на место, которое находится под выпуском слива из бачка.

- Посмотрите внимательно на расположение отверстий в раме – они помогут установить кронштейн на место.

- Находим кран, который устанавливается во внутрь. На нем надет синий колпачок, снимаем его и подматываем льном, а по верху промазываем унипаком или силиконом. .

- Берем пресс-фитинг угол Тр16 – Вр 12 и скручиваем, чтобы они смотрели в одну сторону.

- Я обычно использую только металлопластик, потому что с ним легче управиться. Она с легкостью сгибается. Внимание, ни в коем случае не используйте гибкую подводку.

- Вставляем кран с прикрученным уголком в отверстие на задней стенке в бачке инсталяции.

- Необходимо затем снять с гайки шланга, который находится внутри бачка, защитную крышку и вставить штуцер шланга в кран и закрутить гайку.

- На фото в руке отвод который нам понадобится попозже.
Подготовка места установки и работы с канализацией для правильной установки подвесного унитаза.
- Место установки необходимо правильно выбрать, здесь нам основное условие будет диктовать возможность подведения канализационной трубы.
- Встречаются 2 вида инсталлированных бачков.
- Вариант с максимальной установкой от стены на 220мм.
- Вариант с установкой от стены больше чем 220мм.
- Если вы купили вариант с 220 мм установки от стены, а подведение канализации в процессе установки не входит в установленные параметры, то можно использовать шпильки диаметром 12мм закрепленные в стене при помощи распорных цанговых дюпелей.

- Канализация, если она старая, лучше поменять на новую, у нас условия работы диктовал хозяин квартиры( цена за замену стояка его испугала), пришлось менять резинку – сальник в тройнике стояка канализации, чтобы устранить возможность дальнейших протечек.

- Чтобы вывести раструб канализации по центру туалетной комнаты, необходимо замерить ширину и поставить метку на полу.

- Соединяем прямой тройник с трубой и выставляем ось по заранее установленной метке и отмечаем, чтобы затем отрезать лишнее.

- Конечно, резать канализационные трубы болгаркой не по технологии но зато очень быстро.

- После отрезания лишнего, необходимо снять фаску с внешнего края трубы для лучшего вхождения трубы в раструб (если это не сделать, соединение можетт протекать, сальник повредится или сдвинется при вставлении трубы).

- Все заусенцы необходимо шлифануть напильником или обычным ножом.

- Затем в тройник вставляем отвод на 90 градусов. Канализационную трубу обязательно необходимо крепить хомутами – не дай бог потом потечет .

- Вставляем в раструб отвода переход на отвод инсталляции.

- Да, кстати, шланг мы преждевременно соединили с краном )))) – прийдется вытащить его и присоединить к подающей воду трубе .

- Эта наклейка указывает нам максимальную высоту установки рамы. Очень важно не ошибиться и просчитать все правильно – прибавить расстояние чистого пола (отметка чистого пола – это уровень пола уже с уложенной на него плиткой).
- Допускается к данной величине прибавлять 3-4 см . В итоге верхний край унитаза будет на отметке 40см+4см=44см, что не очень критично, а иногда даже лучше, если у вас в семье все высокого роста.
Сохраните в закладках другие наши инструкции:
Установка подвесного унитаза с инсталляцией 511
Монтаж инсталляции для унитаза представляет собой устройство конструкции, позволяющей выполнение скрытой установки прибора. Такая конструкция оставит на виду только унитаз и панель для слива воды, а рама для инсталляции, бачок для слива, трубопровод и подводки спрячутся в стену.

Выбирая арматуру бачка и кнопки для слива, отдайте предпочтение тем, что снабжены системой экономии воды.
Система инсталляции должна обеспечивать надежность крепежа подвесной конструкции. Качественно закрепленный сантехнический прибор способен выдержать нагрузки до 0,40 тн.
Инсталляция для унитаза и ее монтаж
Перед тем как начинать работы, необходимо понять, что из себя представляет такая система, и какие нюансы имеет монтаж.
К преимуществам подобных систем можно отнести:
- Компактность — основное преимущество. Сравнивая с классическим типом напольных унитазов с объемными бачками для слива, конструкция слива подвесного собрата намного тоньше, что делает возможным монтаж в стену, обшитую затем гипсокартоном.
- Свободное пространство, остающееся под унитазом после установки, что значительно упрощает уборку.
Система состоит из нескольких составляющих:

Схема подключения системы инсталляции.
- Стальная жесткая рама — главный элемент. Она оборудуется выдвижными штангами, которые нужны для регулирования устройства по высоте и закрепления к полу. Помимо этого рама оснащается специальными шпильками крепления инсталляции к стене панелью, имеющей резьбовые гнезда для вкручивания болтов при креплении чаши.
- Вверху рамной конструкции обычно установлен плоский бачок для слива. Обычно такие бачки выполняют из пластика и изолируют стирополом, который препятствует образованию на поверхности конденсата.
- Передняя часть бачка обычно содержит вырез для устройства кнопочной сливной системы. Этот вырез также нужен для обслуживания сливного бачка и по мере необходимости замены сломавшихся деталей.
- Сбоку или сверху бачка устроены специальные отверстия для переходника, при помощи которого осуществляется подключение системы к водопроводу. В зависимости от необходимости переходник можно переустановить на более подходящее место.
- Также бачок содержит вентиль, обеспечивающий перекрытие воды, гибкую подводку, соединяющую поплавковый кран с вентилем, сам поплавковый кран, систему для дозирования слива, защиту от переливов.
- Из бачка выходит отвод для сливания воды во время смыва.
Установка инсталляции: инструкция
Прежде всего, чтобы выполнить монтаж, потребуются следующие инструменты:
- дрель или перфоратор;
- разводной ключ;
- гаечные ключи №13, 10, 17 и 19;
- уровень;
- отвертки;
- рулетка;
- карандаш.
Пошаговая инструкция по
установке инсталляции для подвесного унитаза:
Монтажная рама для подвесного унитаза (инсталляция) со смывным бачком двойного потока.
- Установка начинается до выполнения работ по отделке помещения. К предполагаемому месту устройства подводится труба для подачи воды и отвод канализации, имеющий Ø 11.0 cм. Унитаз лучше располагать как можно ближе к месту расположения стояка канализации.
- При помощи уровня выставляется рама (относительно горизонтальной и вертикальной плоскости). Регулировка выполняется шпильками крепления и выдвижными штангами.
- Производится регулировка чаши по высоте (первоначально рама находится в наиболее низком положении). Оптимальной высотой считается расстояние 40-45 см от уровня пола.
- После подбора подходящего уровня необходимо наживить унитаз на шпильки и проверить, удобно ли расположена чаша.
- Окончив работы по выставлению рамы, производят ее крепление дюбелями и шурупами к стенам и полу.
- После крепления рамы к сливному бачку подводится вода. При этом необходимо использовать трубу. Гибкий шланг для таких целей не подходит. Средний срок службы гибкого шланга не превышает и 3-х лет, что недопустимо, учитывая отсутствие к нему доступа после финишной облицовки. Вентиль внутри бачка должен находиться в закрытом положении.
- Выпуск унитаза подключается к канализационному отводу. Идеальным считается, когда выпуск и отвод находятся на одной вертикальной оси. При таком расположении достаточно будет просто вставить патрубок в горловину отвода. Однако такое счастливое стечение обстоятельств происходит редко, и приходится возиться с коленьями. Процесс соединения можно упростить, используя гофру.
- Проверка работоспособности системы проверяется путем повторного наживления чаши подвесного устройства, открытия подачи воды, наполнения бака и сливания воды.
Убедившись в нормальном функционировании, приступают к облицовочным работам, предварительно окончательно закрепив унитаз на шпильки.
Облицовочные работы
После монтажа каркаса остается только облицевать систему инсталляции подвесного унитаза.
Обшить систему можно несколькими вариантами, однако самым легким способом является монтаж листов влагостойкого гипсокартона.
Данным материалом обшивают переднюю часть инсталляции. Разметка выполняется по готовому шаблону, который обычно нанесен на упаковке или содержится в инструкции к подвесному унитазу.
Все видимые части конструкции должны быть зашиты. Перед тем как крепить гипсокартонные листы на раму, в ней высверливают отверстия, или можно использовать саморезы, имеющие сверловые наконечники.
С боков и сверху можно оставить напуск от конструкции каркаса (30 или более мм). Затем к стене и гипсокартону крепится обычный пристенный профиль, и на нем закрепляются бока и верхняя часть.
Перед началом работ по укладке плитки поверх гипсокартона передний вырез бачка для слива оснащается ограничительной манжетой и крышкой-предохранителем. Манжета имеет специальные насечки. После окончания работ по отделке ее обрезают соответственно поверхности плитки.
Крышка-предохранитель нужна для дополнительной страховки. Она не позволит пыли и посторонним предметам попасть внутрь сливного бачка.
Некоторые нюансы установки
Правильная установка унитаза и сливной кнопки должны учитывать некоторые нюансы:

Схема установки инсталляции подвесного унитаза.
- Окончательная процедура установки производится только по прошествии 10 дней после отделочных работ. Плиточный клей должен полностью высохнуть и набрать необходимую прочность, иначе плитка может растрескаться под оказываемой нагрузкой.
- Установка чаши унитаза достаточно проста. Самое главное — правильно замерить и подогнать под размер соединительные патрубки, которые входят в комплект и нужны для инсталляции унитаза. Их всего два: первый для слива воды, другой является патрубком канализации. Ошибки в соединении приведут к плачевным результатам, отдельно патрубки не продаются. Эти детали индивидуальны и входят в набор унитаза.
- Перед тем как крепить чашу на шпильки, одеваются муфты и монтируется амортизирующая прокладка. Патрубки и чашу одевают на шпильки и затягивают гайками, поочередно затягивая их до того момента, пока чаша не окажется на своем законном месте. Затем выполняют контрольный спуск воды из унитаза и, удостоверившись в отсутствии протечек, начинают монтаж кнопки слива.
- Кнопка слива системы, как правило, представлена отдельным узлом и может иметь различную конструкцию в зависимости от изготовителя и вида подвесного унитаза. Правильная установка кнопки требует внимательного ознакомления с инструкцией. Она входит в стандартную комплектацию унитаза. Узел кнопки слива имеет в наличии детали, требующие к себе особой внимательности. К этим деталям можно отнести штанги толкателей. Их необходимо обрезать точно по размеру, указанному на чертеже инструкции.
- Если монтаж инсталляции выполнен правильно, то все элементы унитаза не должны иметь протечек, а сливная кнопка должна плавно ходить и нажиматься без усилий. Не должно наблюдаться никаких прогибов чаши под нагрузкой человека, находящегося на нем.
Вот и все. Полностью рассмотрено устройство системы инсталляции унитаза, что она включает и каким образом монтируется. Остается только надеяться, что вышеописанные рекомендации окажут неоценимую помощь при выполнении монтажных работ.
Монтаж подвесного унитаза на инсталляцию – пошаговая инструкция +Видео
Монтаж подвесного унитаза на инсталляцию – пошаговая инструкция и Видео. Унитазы с инсталляцией являются настоящими аристократами в сантехническом мире. Эти устройства компактные и удобные, потому что отличаются необычайным дизайном и ни разу не щадящей покупателей стоимостью. Более того, монтаж подвесного унитаза на инсталляцию является достаточно сложной задачей, которая требует крайне внимательного выполнения.
И все-таки, несмотря на определенные трудности, количество приверженцев унитазов с инсталляцией постоянно растет в геометрической прогрессии. Важно лишь то, чтобы каждый этап монтажных работ был выполнен правильно.
Устройство подвесного унитаза
Подвесной унитаз устроен куда сложнее, нежели монолитный или компактный вариант. Инсталляция – это высокопрочная металлическая рама, которую устанавливают внутри ниши стены и надежно фиксируют к полу и стене. Между полом и чашей подвесного унитаза остается небольшое пространство. Проводить уборку санитарного узла в разы проще в подобных условиях, так как ножки унитаза попросту нет. Плоский пластиковый бачок для воды же прикреплен на раму, а после к нишу подводят требуемые коммуникации, занимаются отделкой и навешивают сам унитаз. Чаша остается снаружи, а вот остальная «начинка» остается скрытой за стеной. На стену также выводят кнопку смывания, которая обычно расположена в стене над чашей. Даже из такого краткого и сжатого описания можно понять, что монтажные работы подобного устройства являются достаточно трудоемким процессом.
Но все-таки у моделей с инсталляцией есть много достоинств, и стоит их отметить:
- Привлекательный дизайн и эстетичный внешний вид – создается ощущение, будто чаша парит над полом.
- Компактность по размерам, что оставляет большой простор для размещения унитаза и в большом, и в маленьком санитарном узле.
- Благодаря отсутствию ножки процесс уборки в существенной мере облегчен.
- Конструкция инсталляции является универсальной, поэтому вы можете выбрать определенные элементы на свой кошелек и вкус.
- Поломки бака и рамы бывают крайне редко, а выполнить ремонт или произвести замену сливной кнопки не является сложной задачей.
Чаши у подвесных унитазов между собой значительно отличаются по устройству, конфигурации, форме, дизайну, размерам, оттенкам и прочим не менее важным характеристикам, что оставляет широкий простор для подбора подходящей сантехники. А вот среди недостатков следует отметить большую стоимость. С учетом расходов на монтаж стоимость подобного унитаза иногда даже превышает в две раза стоимость обычной напольной модели. Но производители решили учесть возрастающий уровень популярности подвесной сантехники, и поэтому в продаже появились относительно недорогие модели. Дополнительным недостатком является то, что рама и бачок, которые спрятаны в стене, не очень доступны для проведения ремонтных работ в случае чего. При серьезной поломке вам, возможно, потребуется разворотить всю стену и повторно проводить отделочные работы на данном участке.
Установка и монтаж
Инструменты, приспособления и материалы
Для того, чтобы выполнить монтажные работы для унитаза с инсталляцией встроенного типа, требуется заранее купить такие элементы:
- Чашу навесного унитаза.
- Раму для инсталляции с пластиковым бачком.
- Кнопку смыва.
- Шпильки для крепления унитаза.
- Набор патрубков для соединения чаши и бачка и прочее.
Скрытый монтаж подвесного унитаза обычно подразумевает, что инсталляция, купленная для установки, будет идти в комплектации с плоским пластиковым бачком, а также переходниками, крепежом, патрубками и кнопкой для смывания. В комплекте также обычно ест особый материал, который помогает защитить конструкцию внутри стен от воздействия конденсата, а также понижает уровень шума от работающего бака. При покупке обязательно проверяйте комплект, чтобы в случае необходимости вы смогли сразу же докупить все недостающие комплектующие. Чашу от унитаза также нужно будет покупать отдельно. Конфигурация и размеры инсталляции, как и всех остальных деталей, являются стандартизированными, и поэтому вы сможете при желании их изменить/заменить. К примеру, вы можете приобрести двойную кнопку смыва, которая даст возможность экономить воду.
На представленной схеме наглядно представлено устройство инсталляции со сливным бачком из пластика и требуемыми разъемами, которая требуется для того, чтобы выполнить монтаж подвесного унитаза. Чтобы заняться установкой, вам потребуется еще и ряд инструментов, и прежде всего, у вас должны быть в наличии сверла по бетону и перфоратор, причем первые обязательно должны соответствовать крепежам. Также требуется строительный уровень, рулетка, накидные рожковые ключи, карандаш для выполнения работ по разметке, нож для нарезания гипсокартона и прочее.
Порядок монтажных работ для подвесного унитаза
Схематические порядок выполнения работ по установке унитаза на инсталляции можно представить в виде самых главных шагов:
- Сделать в стене подходящего размера нишу.
- Подвести к ней канализацию.
- Произвести монтаж рамы-инсталляции.
- Подвести к месту для смыва трубы с холодным водоснабжением.
- Подключить унитазный бачок.
- Закрыть нишу, выполнить монтаж сливной кнопки и заняться отделкой.
- Навесить унитаз, подключить к бачку, а также к канализации.
Также может потребоваться определенное количество гипсокартона – для отделочных и монтажных работ. Каждый этап выполнения работ по монтажу навесного унитаза требует грамотного подхода и пристального внимания. Эксплуатационный срок устройства, характер поломок и их количество будет во многом зависеть от того, насколько качественно были проведены монтажные работы. Результаты даже небольших погрешностей, которые были допущены в процессе установки, могут быть очевидны не сразу, а лишь в процессе эксплуатации. Иногда ремонт оказывается крайне затратным и трудоемким занятием, и по этой причине стоит сразу же правильно устанавливать все элементы устройства, так как переделки будут себе же дороже. Подробнее порядок монтажных работ для навесного унитаза представлен в видеоуроке.
Ниша для инсталляции
Монтаж подвесного унитаза на инсталляцию невозможен без предварительной подготовки, а также создания ниши. Для последнего и установки инсталляции подойдет лишь стена с хорошей несущей способностью. Поверьте, инсталляционная рама способна выдерживать вес до 400 кг, и часть нагрузки будет идти непосредственно на стену. По этой причине стоить поставить навесной унитаз к крепкой стене, и гипсокартон точно не подойдет, так как он может попросту рухнуть.
Итак, для монтажных работ с инсталляциями требуется выдолбить в стене нишу с такими параметрами:
- Высота – 1 метр.
- Ширина – 0.6 метра.
- Глубина – от 0.15 до 0.2 метра.
Кстати, иногда выполнить требования по глубине не так уж и просто, и в таком случае нишу следует сделать на всю возможную глубину, а ее недостаток следует скрыть при помощи отделочного слоя и гипсокартона. таким образом, у вас будет пространство для проведения экспериментов в области дизайна и оформления интерьера. К примеру, вы можете сделать в пространстве между появившимся выступом и стеной шкаф встроенного типа, или же повесить полки открытого типа. А вот идея с обычной установкой рамы вдоль стены, а после ее дальнейшей обшивкой при помощи гипсокартона вообще не имеет смысла. В таком случае будет дешевле и проще поставить в том же самом месте самый обычный компактный унитаз, который будет занимать столько же пространства, сколько и прежний (или даже меньше).
Если же в санитарном узле есть ниша для канализационных и водопроводных коммуникаций, то есть смысл выполнить установку инсталляционной рамы именно в ней. Жильцы на верхних этажах многоквартирных домов иногда даже устанавливают в нишу фановый стояк, причем его определенную часть обрезают и устанавливают воздушный клапан в том месте, где расположен выпуск на чердак. В определенных санитарных узлах для ниша коммуникаций предусмотрена по проекту. Также вы можете использовать ее для монтажных работа инсталляции, но могут потребоваться определенные переделки, к примеру, изменение положения труб системы водопровода и смещение канализационного стояка. Если у вас нет опыта работы в выполнении таких операций, то лучше всего проконсультироваться со специалистами или даже поручить им выполнение данной части монтажных работ.
Перед тем, как выполнить установку рамы, следует вначале позаботиться о том, как правильно подвести канализационную трубу к месту монтажных работ. Вам потребуется труба, диаметр которой 10 см, и следует проложить ее максимально близко к поверхности пола, а также выдержать правильный уклон (2 см на погонный метр). Место, где будет выполнено подключение, должно оказаться в 25 см от центра ниши стены. На горизонтальную часть трубы следует надеть косой отвод, угол которого 45 градусов. После того, как все эти операции будут выполнены, можно приступить непосредственно к процессу установки инсталляции.
Установки рамы с баком
Для установки инсталляционной рамки предусматривается четыре точки, причем в двух местах (точках) ножки рамы будут прикреплены к полу, а еще в двух местах раму следует закрепить на стену при помощи кронштейнов. При этом следует обязательно использовать строительный уровень, чтобы конструкция стояла идеально ровно и строго по вертикали/горизонтали. Для этого рекомендуем проверять положение рамы со всех сторон. Если инсталляция будет установлена даже с малым перекосом, то в работе внутренних механизмов могут появиться даже сбои, а это неизбежно приведет к тому, что конструкция поломается. Чтобы выровнять положение рамы по вертикали, следует использовать ножки регулируемого типа.
Горизонтальное положение следует выставлять при помощи креплений на стенах, и положение их можно изменить так, как вам требуется. После того, как все было точно выставлено и зафиксировано, можно заняться прикручиваем к стене. Монтаж подвесного унитаза своими руками требуем, чтобы рама была устойчивой, и для этого можно даже дополнительно зацементировать ножки. Слоя стяжки в 0.2 метра в высоту будет более, чем достаточно, но такая мера не является обязательной. Высота ножек от рамы, которая предназначена для унитаза подвесного типа, может быть отрегулирована. Это даст возможность выставлять конструкцию строго по уровню горизонтально.
В нижней части инсталляции есть пару отверстий, которые нужны для дальнейшего монтажа чаши унитаза навесного типа. Расстояние между этими отверстиями и полом должно быть около 0.3-0.4 метров, чтобы чашу унитаза можно было повесить повыше от поверхности пола. В такие отверстия будут установлены особые шпильки. Их следует вставить до упора в стену и закрепить при помощи специальных гаек, а шпильки нужны для того, чтобы повесить унитаз. Вставьте их в соответствующие отверстия на раме и прикрепите к поверхности стены.
Подключение всех коммуникаций
Тут следует начать с системы канализации, и обычно в комплекте с инсталляцией идет особый черный отвод, который предназначен для этого соединения. Его требуется подогнать к канализационной трубе, а вторую сторону отвода следует прикрепить на инсталляцию при помощи особых клипс. Подключение к водопроводу выполняют с левой или правой стороны от инсталляции. Водопроводную трубу требуется соединить при помощи резьбового соединения, которое уже есть в конструкции. Специалисты советуют использовать только современные трубы, которые выполнены из меди (потому что это долговечно) или полипропилены, а также выполнить установку удобного разъемного соединения. Для подведения воды к баку можно использовать даже самые обычные гибкие шланги, и такой простой (а главное – недорогой) вариант мог бы быть идеальным, но его срок эксплуатации меньше, чем у труб, и поэтому требуется считаться с данным обстоятельством проведения сложного ремонта для замены.
На этом этапе требуется провести проверку надежности соединения бака для воды с системой водопровода. Для этого требуется открыть кран водной подачи, который расположен внутри бачка, а после наполнить емкость. Далее проверьте каждое соединение на наличие протечек и устраните неисправности, если это нужно. При этом вовсе необязательно сливать воду. Проверку соединения с канализационной системой можно сделать так – наделить чашу на шпильки и выполнит пробное смывание, при этом, не закрепляя конструкцию. После этого следует снять чаше с крепления, проверить на наличие или отсутствие протечек, а после заняться монтажом.
Отделочные работы
Если вы правильно установили инсталляцию, а бачок не протекает, следует зашить нишу при помощи влагостойкого листа гипсокартона и выполнить все отделочные работы. Рекомендуется брать именно влагостойкий и двойной лист гипсокартона, так как обычный материал будет в ближайшее время поврежден из-за контакта с конденсатом. Чтобы правильно вырезать все монтажные отверстия в листах и не испортить материал, следует использовать для раскройки шаблон. Обычно он поставляется в комплекте. Когда инсталляция будет установлена и все требуемые коммуникации подведены, нишу следует зашить при помощи листа влагостойкого гипсокартона, по которому в дальнейшем будут выполняться отделочные работы. В ванной комнаты чаще всего стены облицовывают при помощи керамической плитки. К остальным работам по монтажу подвесного унитаза можно приступить только тогда, когда будет закончен этот этап. Также не будет ошибкой полностью окончить ремонт санитарного узла, и лишь после этого заняться установкой подвесного унитаза.
Монтаж подвесного унитаза
На самом деле установка самого унитаза не является чем-то сверхсложным, даже наоборот, когда уже выполнен практически весь объем работ.
Но для начала рекомендуется подождать полного просыхания слоя плиточного клея, а далее можно выполнять монтаж чаши унитаза таким образом:
- Подгоните размеры патрубка от сливного бака, который должен выступать за стену на 5 см.
- Аналогичным образом следует подрезать патрубок, который предназначается для слива канализации.
- Установите патрубки на места, которые для них предназначены.
- Наденьте на установленные ранее патрубки и шпильки особые прокладки большого размера, они по конфигурации чем-то похожи на усеченную пирамиду.
- Наденьте унитазную чашу на шпильки, надежно соедините с патрубками.
- Установите вставки из пластика и резиновые прокладки.
- Наденьте и затяните крепежные гайки.
- Обрежьте выступающую часть прокладки из резины.
И не забывайте о том, что навешивание унитаза на инсталляцию, его подключение к бачку и канализационной системе проводится после того, как окончено все отделочные работы! после этого вы можете проверить работу канализации, спустить в чашу воду из бачка для слива. Чтобы отрегулировать высоту чаши над поверхностью пола, следует изменять положение выдвижных шпилек и штифтов, которые были предназначены для навешивания унитазной чаши. При этом стоит ориентироваться на рост посетителя. Универсальной высотой считается расстояние в 0.4 метра от края чаши до пола.
Монтаж смывной кнопки
В конце остается лишь установка кнопки для смыва. Она бывает механической и пневматической. Операция монтажа несложная, так как все соединения уже предусмотрены и готовы на инсталляции, а также подведены к соответствующему отверстию на стене. Для установки кнопки механического типа потребуется установка особых штифтов, и после их регулирование положения. Пневматическая модель присоединяется нужными трубами на инсталляции и сразу же после этого будет готова для использования.
Инсталляция для унитаза: как установить подвесной унитаз
![]()
Подвесные унитазы не так распространены, как традиционные. И это несмотря на то, что впервые они появились в восьмидесятых годах. Тем не менее, его можно считать современным сантехническим устройством, которое хорошо вписывается в раздельный или совмещенный санузел. Многим такое решение нравится за минимализм и компактность, другие остались верны традиционным моделям. Основное отличие состоит в креплении. Подвесной унитаз устанавливается не на пол, а как бы висит над ним. Пол остается полностью свободным. Людям с большой массой такое крепление может показаться недостаточно прочным, но оно способно выдержать и довольно «большого» человека. При этом никакого фокуса тут нет, удержание сантехнического оборудования производится при помощи системы инсталляции унитаза.
Что такое инсталляция унитаза

О системе инсталляции
Инсталляция унитаза – это специально разработанное крепление для унитазов подвесного типа. Оно представляет собой прочную металлическую раму, которая выдерживает не только вес самой сантехники, но и человека, пользующегося оборудованием. Такая конструкция позволяет скрыть технические элементы санузла. Сама рама крепится при помощи анкерных соединений к полу и стене. Сливной бачок также крепится на подвесах на раму. Он скрыт, как и все водопроводные соединения за гипсокартонной стенкой. Линейные размеры рамы не влияют никоим образом на несущую способность каркаса и стен.
Плюсы инсталляции унитаза
Компактность оборудования позволяет экономить место в туалете и ванной. Но это не единственное преимущество инсталляции подвесного унитаза. Помимо него отмечают следующее:
- Высоту сидения можно подобрать. Проще уборка вокруг чаши и под ней. Система выдерживает до 150 кг.
- Более эстетичный внешний вид туалетной комнаты. Стильно и современно.
- Крепления инсталляции стандартны. При смене чаши не потребуется менять инсталляцию.
- Меньше шум при спуске воды. Два варианта слива унитаза: полный и экономный. Кнопку можно вывести в удобное место, для этого используются тросики либо пневматические устройства.
- Простой монтаж системы инсталляции.
- С инсталляцией совместима и другая сантехника: биде, раковина и т.д.

Минусы инсталляции унитаза
Но тем не менее, есть и оборотная сторона медали. К недостаткам инсталляции унитаза относятся:
- Цена примерно в два раза выше традиционного унитаза.
- Сложность доступа к системе слива и канализации.
- Металлическая рама-стойка крепится капитально! Нельзя устанавливать такую конструкцию на тонкие стены. Следовательно, сфера применения является узкой.
- Длительность монтажа. В большинстве случаев это зависит от опыта того, кто занимается инсталляцией.
- Чаша унитаза меньше стандартной, не для каждого подходит.
- Менее качественный гидрозатвор.
- Мало моделей для углового крепления.
Виды системы инсталляции

В зависимости от конфигурации туалетной или ванной комнаты могут потребоваться инсталляции разных видов. Для деревянных домов обычно применяют более широкие инсталляции с меньшей высотой. Это объясняется необходимостью снижения нагрузки на стену. В таких домах целесообразно крепить инсталляцию к полу. Качественное изделие обычно имеет антикоррозионное покрытие.
- Рамная инсталляция унитаза. Ее допустимо устанавливать в любом помещении. Прочность стен не играет важной роли. Обычно фиксируется в четырех точках на пол или стены. Возможно комбинированное крепление. Есть угловые модификации. Достаточно дорого стоит. Считается, что они имеют улучшенную надежность. Высота до 1.4 метра, ширина 50-60 см, глубина от 15 до 30 см.Высота подбирается индивидуально. При установке под окном используют укороченную инсталляцию высотой 80 см.
- Блочная инсталляция унитаза. Фиксируется исключительно на капитальную несущую стену. По цене – более доступный вариант. Обычно комплектуется крепежными элементами (пластины, анкеры, шпильками для крепления чаши и т.д.) и сливным бачком из пластика. Типовая ширина 50 см, глубина до 15 см, высота 1 м.

Сами чаши унитаза могу быть изготовлены из фаянса, фарфора, стали, стекла, пластика (самый ненадежный вариант), полимербетона (искусственный камень). Существуют чаша трех размеров:
- Компактная, до 54 см. Для небольших туалетов и ванных комнат.
- Средних размеров, от 55 до 60 см. Это универсальное решение.
- Увеличенные, свыше 60 см. Подходят для людей с ограниченными возможностями.
Форма унитаза может быть самая разная. Но наиболее практичны круглые или овальные. Их намного легче чистить, у них нет острых углов – меньше риск получить травму. Желательно, чтобы чаша имела пологий скат к сливу, это уменьшает количество брызг воды. От этих параметров зависит комфорт при использовании.
Установка подвесного унитаза

Произвести монтаж инсталляции можно и самостоятельно. Это потребует времени и трудов, хотя сам процесс не такой уж и трудоемкий, скорее кропотливый. Прочность и устойчивость системы будет зависеть от того, насколько качественно произведен крепеж. Крепить инсталляцию на гипсокартонные стены или перекрытия категорически нельзя. Самое лучше – производить крепеж на бетон. Если вы не уверены в своих силах, стоит обратиться к мастеру, для которого не составит труда произвести такую работу.
Для работы потребуются: перфоратор, герметик силиконовый, рулетка, строительный уровень, фановая труба, трубы или шланги для воды, ФУТ-лента, гаечные ключи. После того, как выбрано место установки инсталляции и тип системы, можно приступать к монтажу.

Пошаговая инструкция состоит из нескольких этапов:
- Разметка. Отметки делаются в местах крепления к полу и стене. Размечается положение водопроводных труб и канализационного слива. Выбирается высота крепления чаши – это индивидуальный параметр. Чаша унитаза обычно крепится на высоте 40 см. Сама инсталляция должна быть ровной, перекосов быть не должно. Возможно придется использовать строительный уровень. Выравнивание относительно пола можно произвести и с помощью отвеса.
- Подведение водопровода и слива канализации. Рамные инсталляции имеют место для подведения канализационной трубы. Для них важна точность разметки. Обычно вода к баку подводится гибкими шлангами. Некоторые мастера рекомендуют металлопластиковые трубы. Они служат больше.
- Фиксация инсталляции. Отверстия для крепления пробивают с помощью перфоратора. Обычная дрель с бетоном скорее всего не справится. Крепление производится при помощи анкеров.
- Присоединение чаши унитаза к системе канализации. Выпуск унитаза вставляется в канализационный отвод. Соединение фиксируется гофрой. Возможно использование манжеты-уплотнителя.
- Установка сливного бачка и прочей фурнитуры. Подсоединяется шланг к водопроводному бачку. Вентиль бачка необходимо закрыть до окончания монтажа.
- После этого инсталляцию зашивают гипсокартоном. Далее его поверхность можно привести к единому виду с туалетной комнатой. Отделочные материалы сейчас широко представлены на рынке. Для снижения шумности спускаемой воды, стенки можно обшить дополнительным слоем звукоизоляции.
- Заключительная стадия – крепление унитаза. Подвешивание унитаза производится при помощи двух штифтов. Далее осуществляется фиксация чаши.
Последовательность этих действий может незначительно различаться, все зависит от конкретной модели. Поэтому перед сборкой важно прочитать инструкцию. Данный алгоритм является примерным.

Не забывайте о и том, что желательно оставлять технологический люк при обшивке инсталляции на случай непредвиденных обстоятельств. Через него после подвеса унитаза соединения обычно уплотняются силиконовым герметиком. Естественно, что проверить унитаз в действии можно будет только по застыванию слоя герметика. Особых трудностей при самостоятельной установке навесного унитаза не должно возникать. Необходимо лишь придерживаться общей инструкции и тщательно выполнить разметку. Остальное – рутинная работа.
При всех очевидных достоинствах и недостатках, подвесные унитазы с инсталляцией имеют популярность. Использование по прямому назначению не отличается от использования классических унитазов. Установка такой системы придаст дополнительную рациональность санузлу. По этой причине сантехника с инсталляцией пользуется спросом.





